
【类型】:双作用活塞式、弹簧复位式
公称通径: 50~300mm
气源压力 :4N·M~10560N·M
食品药品专用,sus304不锈钢240Grit抛光,连接紧固件均为不锈钢。品质保证,售后无忧。
概述:
D671Si-16P气动卫生级蝶阀采用标准电子抛光,光滑表面确保清洁,无介质积存区域,不会产生潜在的污染。气动卫生级蝶阀拆装快速,使阀门打开和维修快捷容易,使过程停机时间缩短。气动卫生级蝶阀广泛应用于食品、制药、化妆品、洁净蒸汽、酒类、饮料、生化工业过程控制场合。
产品特点
1、气动卫生级蝶阀阀体、阀板采用304材料
2、阀座的材料是硅胶,无毒而卫生
3、气动卫生级蝶阀流道内壁240Grit抛光
4、内部流道没有死角,易清洗
气动执行器
采用新型GTD系列或ATD系列气动执行器,有双作用式和单作用式(弹簧复位),齿轮传动,安全可靠;大口径阀门采用AW型系列气动执行器拔叉式传动,结构合理,输出扭矩大,有双作用式和单作用式。
1、齿轮式双活塞,输出力矩大,体积小。
2、气缸选用铝金材料,重量轻、外形美观。
3、可在顶部、底部安装手动操作机构。
4、齿条式连接可调节开启角度、额定流量。
5、执行器可选带电讯号反馈指示及各类附件以实现自动化操作。
6、IS05211标准连接为产品的安装更换提供了方便。
7、两端调的节螺钉可使标准产品在0°和90°有±4°的可调范围,确保与阀门的同步精度。

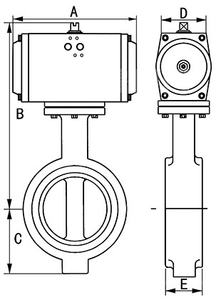
外形尺寸(对夹式,其他类型请来电索取)
| 公称通径DN | A | B | C | D | E |
| 压力 | 1.0/1.6 | 1.0/1.6 | 1.0/1.6 | 1.0/1.6 | 1.0/1.6 |
| 50 | 140 | 286 | 63 | 60 | 43 |
| 65 | 140 | 295 | 70 | 60 | 46 |
| 80 | 171 | 300 | 89 | 63 | 46 |
| 100 | 186 | 350 | 106 | 65 | 52 |
| 125 | 254 | 392 | 120 | 65 | 56 |
| 150 | 254 | 430 | 132 | 90 | 56 |
| 200 | 296 | 443 | 164 | 103 | 60 |
| 250 | 296 | 491 | 200 | 103 | 68 |
| 300 | 384 | 565 | 238 | 118 | 78 |
技术参数和性能
| D681X气动卫生级快接蝶阀执行器技术参数 | D681X气动卫生级快接蝶阀阀体参数 | ||
| 类 型 | 双作用活塞式、弹簧复位式 | 公称通径 | 50~300mm |
| 气源压力 | 双作用:2-8bar/单作用:4-8bar | 公称压力 | PN1.0、1.6MPa |
| 输出力矩 | 双作用:4N·M~10560N·M | 阀轴材质 | 304/316/316L不锈钢 |
| 单作用:7N·M~2668N·M | 阀体材质 | 304/316/316L不锈钢 | |
| 工作温度 | 常温型:-20℃~80℃(丁腈橡胶O型圈) | 阀板材质 | 304/316/316L不锈钢 |
| 高温型:-20℃~160℃(氟橡胶O型圈) | 阀座密封 | 硅胶、PTFE | |
| 动作范围 | 0~90°±5° | 结构形式 | 快装型、对夹型、焊接型 |
| 接口螺纹 | GTD40~GTD83/ATD50~ATD88 G1/8″ | 温度 | 硅胶、PTFE≤150℃ |
| GTD110~GTD350/ATD100~200 G1/4″ | 适用介质 | 食品、药品、酒类,乳类、饮料 | |
| 阀位信号 | 定位器:4~20mA/回信器:全开全关信号 | 特点 | 重量轻、操作力矩小、拆装方便、耐老化 |
附件选项
根据不同控制和要求可选择下列附件:
回讯器:也叫限位开关,远程反馈开关信号(可选防爆)。
电磁阀:双作用选二位五通、单作用选二位三通(可选防爆)。
三联件:可对气源稳压、过滤、气缸加润滑油。
手轮机构:转动手轮机构,可实现手动开、关阀。
电气定位器:输入4~20mA信号,实现阀门调节功能。
订货说明
1、气动执行器类型:双作用、单作用
2、介质类型、温度、压力
3、所需附件:电磁阀、定位器、信号反馈、气源处理三联件、手动机构


扫一扫!查看更多